if
aba
.ru
Главная
»
Тени и блики
»
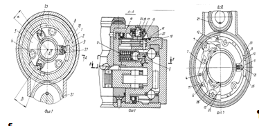
Схемы и изображения: ленточно-колодочный тормоз буровой лебедки
Тени и блики